100 Discovery Way, Unit 110, Acton, MA 01720 US.
Mon-Fri, 8:00 AM - 5:00 PM (GMT-5)
Proximity Sensor Selection and Mounting
Proximity sensors are the ideal sensors - not just for metal stamping, but for any industrial application. They are small, rugged, accurate, oil proof (when properly selected - this will be next month's article), and accurate. If you select the right sensor and mount it properly, it will provide reliable service for a very long time. This month's tip will help you to do that.
Proximity sensors come in many shapes and sizes, however the three most common types used in stamping dies are tubular, tubular threaded, and low-profile (flat package). The low profile versions have mounting holes, so installing them is very straightforward ā simply screw them in place and use an appropriate thread-locker. Here, we'll tackle the tubular styles.
Selection
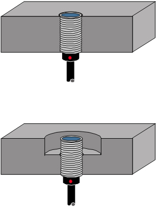
Proximity sensors are available in either embeddable (also known as flush-mountable or shielded) or non-embeddable (a.k.a. unshielded).
An embeddable sensor can be flush mounted in metal. A non-flush mountable sensor must have a "metal-free" zone around the end of the sensor.
Because of this, the sensor cannot be mounted so that it is fully protected. Sensors will last longer when you can fully embed them in steel.

Embeddable (top) proximity sensor can be flush mounted in steel, while non-embeddable (bottom) cannot
You should select self-contained instead of separate amplifier sensors. While the adjustability of separate-amplifier sensors can be convenient when you first install them, the adjustment actually becomes a liability once the sensor is set the way you need it. An easily adjustable sensor can be too great a temptation for those that like to 'tweak'.
In addition to being more expensive, separate amplifier sensors also complicate the installation. While the sensor heads are very well sealed against the environment, the amplifiers often have to be put into an enclosure on the die to protect them from the environment. The less expensive self-contained sensors need no such enclosure.
Finally, be sure to select sensors that meet the electrical requirements of your control system.
Smooth Barrel Sensors
Smooth barrel (unthreaded) proximity sensors should be epoxied into a slip-fit hole. Although many manufacturers publish a mounting diagram
that shows the sensor being held in place with a set screw, the maximum allowable torque is typically too light to ensure that the sensor will stay put
in a stamping die.

Avoid set screws and clamping blocks when mounting prox sensors
Threaded Barrel Sensors
Threaded barrel sensors are simply installed into a drilled and tapped hole. If your sensor came with a sheet metal āLā bracket, you should
discard it and instead mount the sensor into a solid block of die steel. A flimsy bracket will not protect the sensor, and it will allow the sensor
to get easily knocked out of alignment while the die is being maintained. Threaded sensors should be secured with a thread-locking compound.
Relying on only the nut and lock washer will likely lead to the sensor loosening up. Be very careful when tightening the mounting nut.
The maximum allowable torque is often very low (less than 20 inch pounds). Over tightening can cause the sensor to shear.
Sensor Faces Should Be Recessed
The sensing face of most proximity sensors is made out of plastic. Even if the plastic is very high quality, it will be no match for a
sharp burr on a metal part. For this reason, both threaded and smooth barrel sensors should be mounted so that the sensor face is slightly
(0.010ā) recessed. By installing the sensor slightly below the mounting surface, you will minimize the chances of it contacting the
strip or other target. The top edge of the mounting hole should be chamfered. In some cases, doing this can improve the sensor's detection repeatability.

Sensor mounted in a chamfered hole with the sensor face recessed
Mount Sensors in Removable Die Blocks
Since your sensors will, in effect, be permanently glued into place, you should design the mounting blocks so that they are removable for times
when you'll need to perform work on the die that could potentially harm the sensor. If the blocks are keyed or pinned, your sensors will
maintain their detection points after reinstallation without having any fine tuning.
Even better than removable die blocks is to use a method (like the one in the photo below) where the sensors will never have to be removed for die maintenance.

These proximity sensor for detecting stripper position are mounted so that the die blocks can be removed for maintenance without disturbing the sensors
Final Thoughts
If proximity sensors are mounted so that they're protected from physical damage, they have the potential to outlast the die.
They have no moving parts so they don't wear out, and they're extremely resistant to shock and vibration. If properly mounted, the most frequent
reason why proximity sensors need to be replaced is damage to the cables.
© Copyright 2021 Wintriss Controls Group LLC - All Rights Reserved